智能電表的凍結功能指電表可以在設定的時間點,自動保存各類電量數據到電表存儲芯片內,凍結數據大都是與電費結算密切相關的數據,比如總電量。
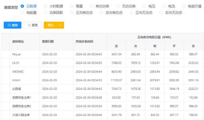
智能電表基本都具備了凍結功能,比如我們家用的單相智能電表,就有日凍結功能,電表每天0點會自動凍結總電量數據,相當于電表本身有個日用電量的報表,通過抄表系統(tǒng)就可以抄讀到電表每天的凍結電量數據,從而計算出用戶每天用多少電、產生多少電費,我們看下系統(tǒng)抄讀到的電表日凍結數據報表及日能耗報表。


日凍結功能結合抄表系統(tǒng),能清晰地了解用戶每天的用電情況,便于管理部門進一步進行用電數據分析和提高供電服務質量。